
안녕하세요, AMPM 글로벌 광고퍼포먼스1본부4팀입니다 :)
오늘은 'H'사의 광고계정 분석을 진행해보도록 하겠습니다.
우선 해당 계정의 업종은 관광지인데요, 처음에는 SNS마케팅을 통한 방문객 증가를 목표로 문의를 주셨습니다.
하지만 자사몰에서는 티켓구매가 불가능하고 플레이스에서만 예매가 가능했고,
자사몰에서 예매가 가능해져도 독립몰이라 픽셀 설치가 어려운 상황이었습니다.
따라서 광고로 인해서 방문객 증가(구매전환 추적)은 거의 불가능한 상태였습니다.
그리고 기존에 메타를 직접 운영하고 계셨는데, 인지도 단일 캠페인, 타겟은 지역별로만 나눠서 세팅했고
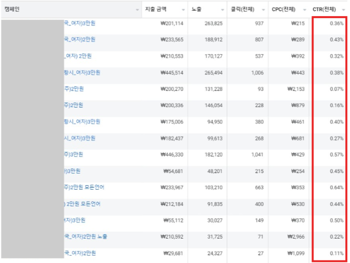
소재는 이미지, 영상등 여러가지 등록을 해놓으셨지만 별도의 소재테스트를 진행하진 않고 있었습니다.

그래서 우선은 광고를 통한 방문객 증가 -> 브랜딩 및 인지도 상승 으로 KPI를 수립했습니다.
타겟도 단순 지역에 따라서만 분류하지 않고 실제 주요 방문객이나 CTR등을 고려하여 타겟을 분리하고
그에 맞게 소재를 조금씩 다르게 제작하여 테스트를 통해 클릭률 개선을 목표로 하고 있습니다.
또한 해당 업체는 사계절 내내 다양한 축제를 진행하고 있는데, 다음 시즌에 대한 내용은 소재에 전혀 담겨있지 않아
'해당 계절에만 축제를 하는 곳'이라고 생각할 수 있다고 생각해 언제 방문해도 축제가 진행하고 있다는 내용을 소재에 표현되도록 제작했습니다.
추가적으로 브랜딩을 위해 GFA와 검색량을 고려하여 네이버 검색광고, 외국인 타겟팅을 위해 GA까지 집행하고 있는데요
다음 시간에는 메타광고 개선내용에 대해 알아보도고 이후 다른 매체별 집행데이터 분석시간도 가져보도록 하겠습니다
추가적으로 광고에 대해 문의사항이 있으시다면 하단의 프로필로 문의 주세요 :)
댓글
0